Network Surveillance Camera Lenses
-
13FM06IR
-
End of Sale
-
2022.09
2025.12
Imager Size Focal Length Aperture Range Iris -
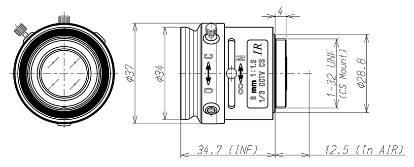
| Model No. | 13FM06IR | ||
|---|---|---|---|
| Imager Size | 1/3" | ||
| Mount Type | CS | ||
| Focal Length | 6mm | ||
| Aperture Range | F/1.2 - Close | ||
| Field of View Angle (Horizontal x Vertical) |
1/3" | 46.5° x 34.6° | |
| 1/4" | 34.6° x 25.9° | ||
| Focusing Range | 0.2m - ∞ | ||
| Operation | Focus | Manual w/lock | |
| Iris |
Manual w/lock |
||
| Filter Size | - | ||
| Bock Focal Distance | 8.92mm( in air ) | ||
| Wave Length | Visible Light - Near Infrared | ||
| Operating Voltage | - | ||
| Weight | 30g 士 3g | ||
| Operating Temperature | -20℃ - +60℃ | ||
* Specificotions subjected to change without ony notice.